Sea Dog Marine - Transom/stern Light Led - 2nm (400033-1)

Sea Dog Marine
UPC:
035514402484
$55.87
$72.75
(You save $16.88 )
Current Stock:

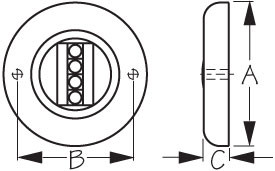
This Round LED Transom Light is approved for USCG 2 NM (Colreg 2 mile). Constructed of corrosion resistant stamped 304 stainless steel. Installs with two #8 RH fasteners (not included). All USCG approved navigation lights must be mounted properly to provide the correct visual alignment and allow unimpeded sight lines. Please refer to USCG regulations for 1 NM and 2 NM navigation lights for more information.


This product replaces:

    400033, 400033-1, 3-400033