Sea Dog Marine - Stainless Steel Asymmetrical Snap 3-1/4" (150080-1)

Sea Dog Marine
UPC:
035514150064
$6.87
$8.95
(You save $2.08 )
Current Stock:
Adding to cart… The item has been added

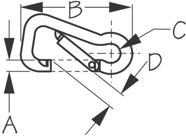
These Asymmetrical Snap Hooks provide approximately 50% higher breaking strength over traditional style snap hooks. The offset body style allows greater gate clearance, increasing the passage area into the snap. Constructed of corrosion resistant formed 316 stainless steel.


This product replaces:

    3-150080, 150080, 150080-1